Jump to main content

A.Hock

43170181-003


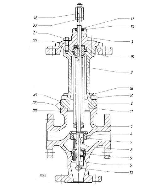
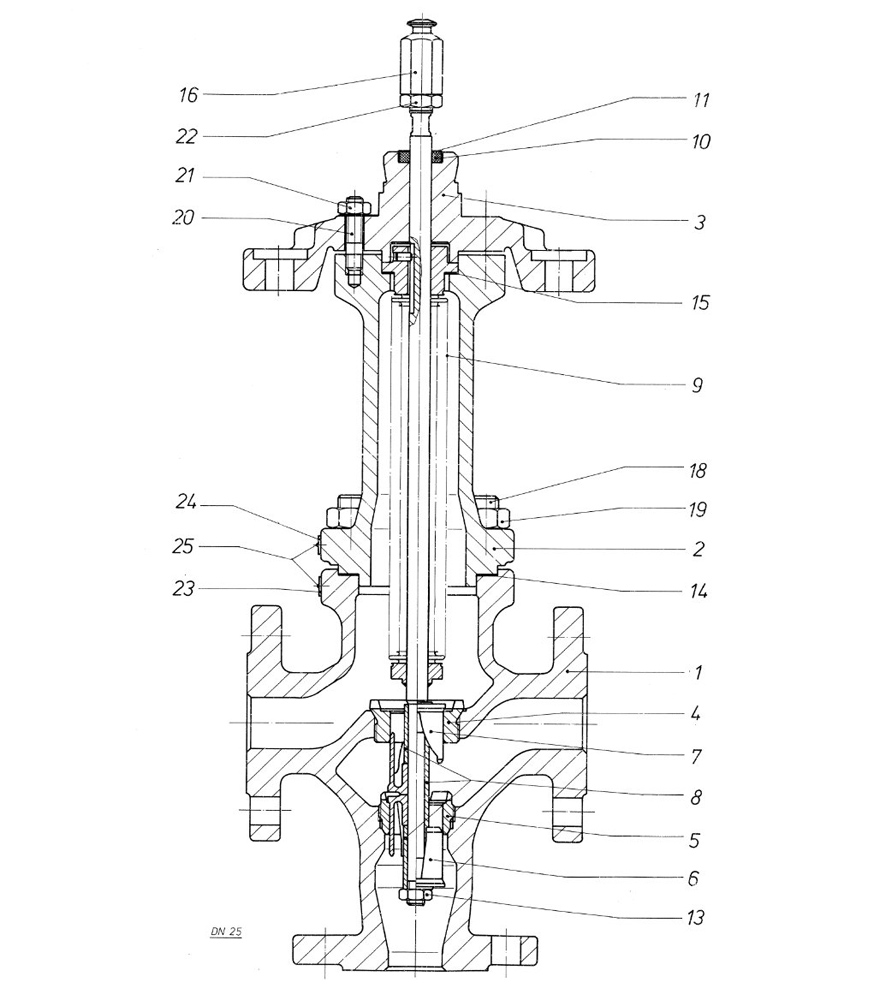
Bellow Seal for Control Valve

Bellow Seal made of 1.4571 as spare for Control Valve Type V5066

Article number: 43170181-003

Go to overview

Technical

Version
14.571
Nominal size
80

Your control valve is to be maintained and you're looking for the right bellow seal?

Feel free to contact us if you have questions about control valves oder actuator spares.