Jump to main content

A.Hock

43177629-002


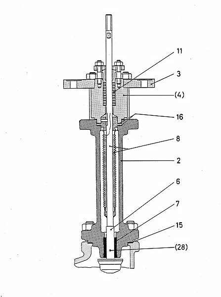
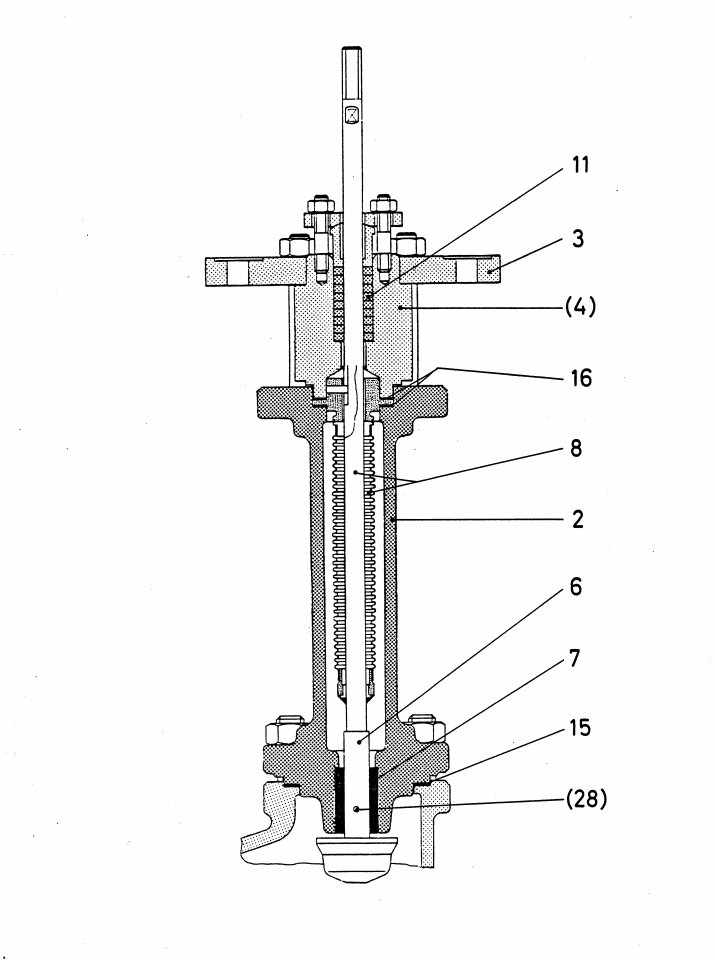
Bellow Seal for Control Valve

Bellow Seal made of 1.4571 as spare for Control Valve Type 2000

Article number: 43177629-002

Go to overview

Technical

Version
14.571
Nominal size
15-50

Your control valve is to be maintained and you're looking for the right bellow seal?

Feel free to contact us if you have questions about control valves oder actuator spares.