Jump to main content

A.Hock

43183508-002


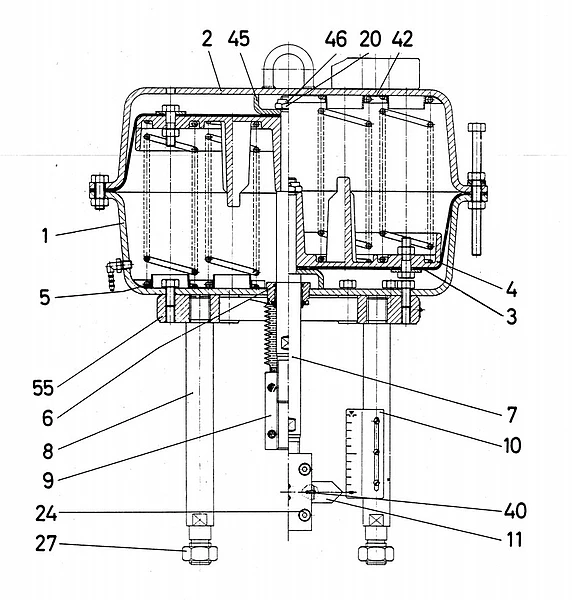
Actuator Spring for Pneumatic Actuator

Actuator Spring made of Federstahl as spare for Pneumatic Actuator Type 2016

Article number: 43183508-002

Go to overview

Technical

Version
Spring Steel

Your pneumatic actuator is to be maintained and you're looking for the right actuator spring?

Feel free to contact us if you have questions about control valves oder actuator spares.