Jump to main content

A.Hock

43191005-002


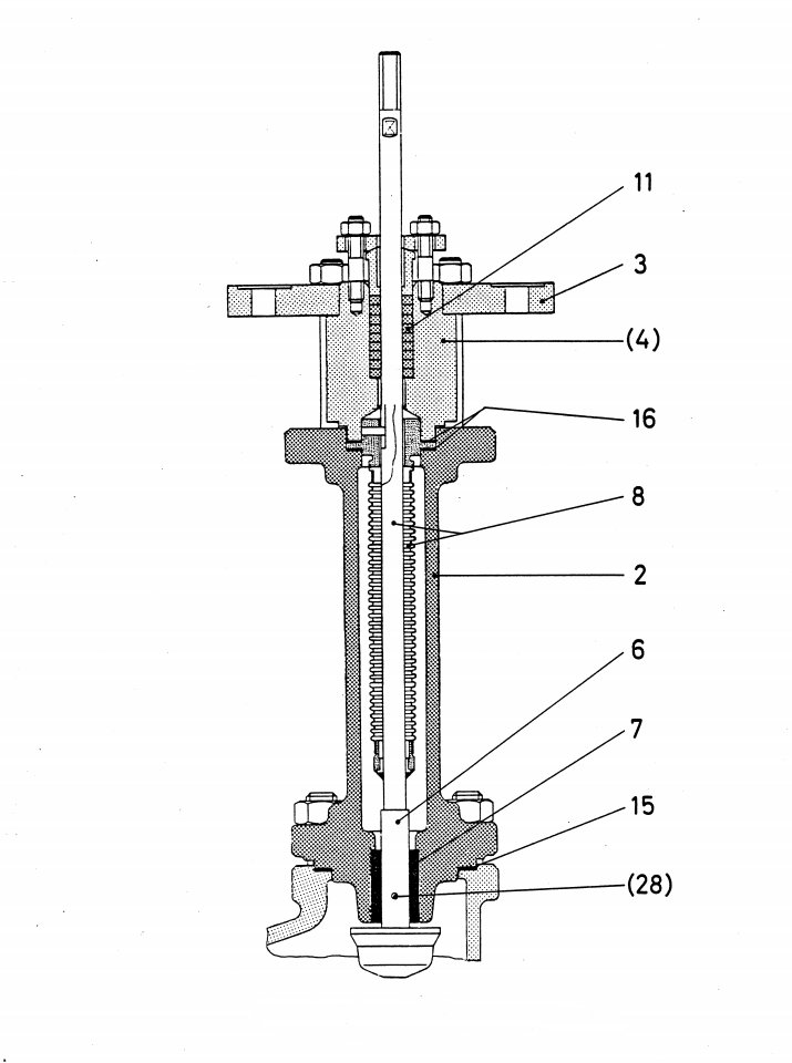
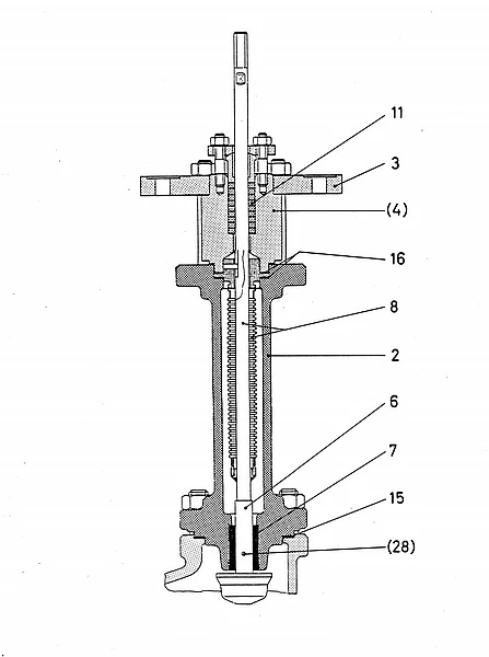
Bellow Seal for Control Valve

Bellow Seal made of 1.4571 as spare for Control Valve Type 2000

Article number: 43191005-002

Go to overview

Technical

Version
14.571
Nominal size
125-150

Your control valve is to be maintained and you're looking for the right bellow seal?

Feel free to contact us if you have questions about control valves oder actuator spares.