Jump to main content

A.Hock

43194674-002


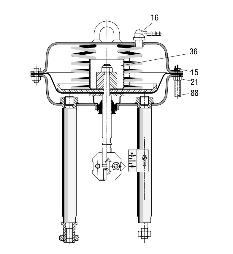
Stroke Limit for Pneumatic Actuator

Stroke Limit made of St 14 as spare for Pneumatic Actuator Type 2109

Article number: 43194674-002

Go to overview

Technical

Version
St 14

Your pneumatic actuator is to be maintained and you're looking for the right stroke limit?

Feel free to contact us if you have questions about control valves oder actuator spares.